Tel
0523-8733 8088
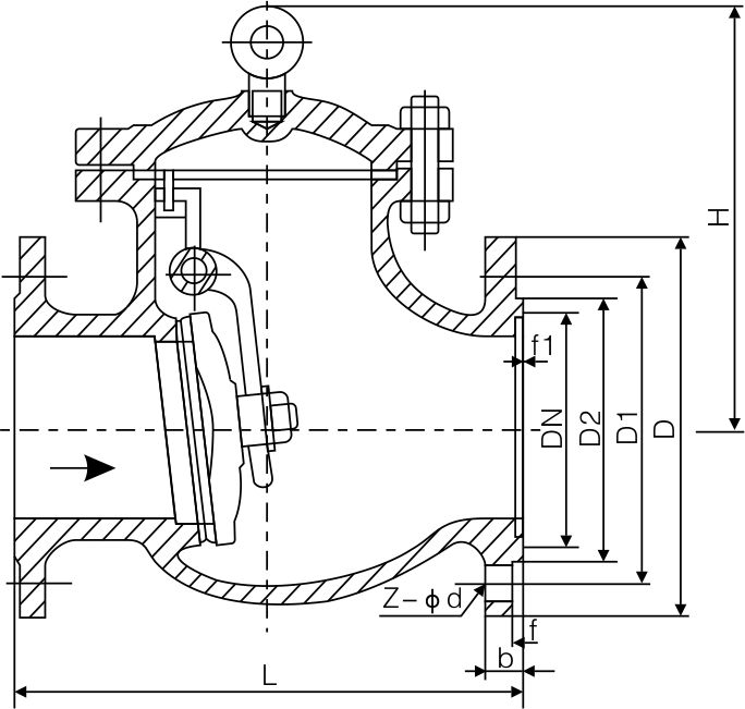
The national standard swing check valve is suitable for pipelines with a pressure of PN1.6-42.0MPa and a working temperature of -29 ℃ -570 ℃ in various working conditions such as petroleum, chemical, pharmaceutical, fertilizer, and power industries, to prevent media backflow.
◆ The product has a compact structure, reliable sealing, excellent performance, and beautiful appearance;
◆ The sealing surface is welded with Co based hard alloy, which has good wear resistance, corrosion resistance, scratch resistance, and long service life;
◆ The built-in pin shaft structure reduces external leakage points and is reliable in use;
◆ When the pressure is ≥ 16.0MPa, the valve cavity adopts a self tightening sealing structure, and the higher the medium pressure, the better the sealing performance;
◆ The material of parts and the dimensions of flanges and butt welding ends can be reasonably selected according to actual working conditions or user requirements to meet various engineering needs.






